Les modèles offrant quatre roues directionnelles ne sont pas légion dans l’industrie automobile. Généralement, cette technologie est utilisée avec des véhicules à vocation plus sportive, l’objectif étant d’améliorer la tenue de route en virage et lors de manœuvres à haute vitesse.
Et l’idée ne date pas d’hier non plus. Ainsi, ce n’est pas une question de capacité, mais plutôt de volonté.
Cependant, on assiste peut-être à un changement de mentalités en la matière. Au cours de la dernière année, sans que la chose ait nécessairement fait la nouvelle, on a entendu parler de conception offrant quatre roues directionnelles un peu plus fréquemment. Et on commence l’année 2020 de la même façon, cette fois avec un type de véhicule qui pourrait bien en profiter, soit une camionnette.
General Motors a déjà joué avec l’idée avec son système Quadrasteer, mais il n’est plus offert depuis une quinzaine d’années avec les Chevrolet Silverado et GMC Sierra.
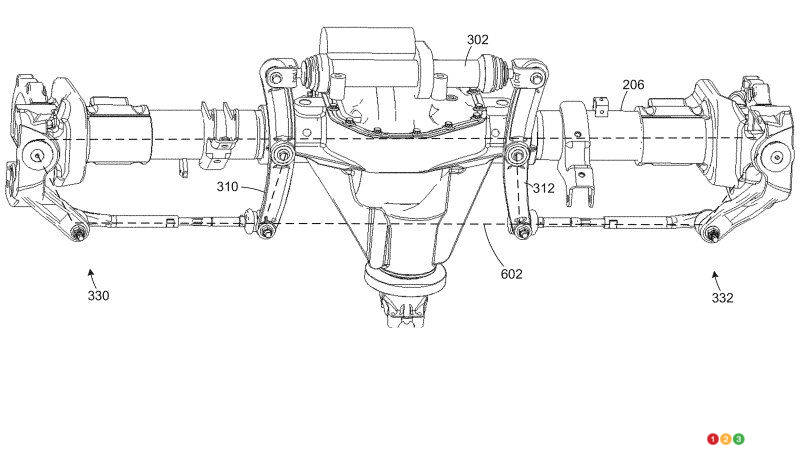
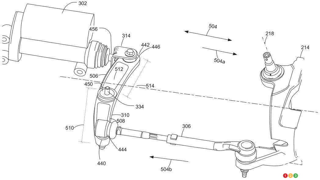
Et voilà que Ford jonglerait avec l’idée. En fait, c’est le site PatentStorm qui a mis la main sur un design à quatre roues directionnelles qui semble destiné aux camions de la Série F. Le système à géométrie directionnelle d’Ackermann permet aux roues intérieures et extérieures d’emprunter des tracés légèrement différents afin de réduire le frottement inutile. Le site The Drive souligne également que l’équipementier ZF utilise un Ford F-150 pour mettre à l’essai son propre système pour camionnettes. Est-ce que le tout est relié ? Il faudra se montrer patients pour le savoir.
Les images que l’on peut voir montrent une version HD du Ford de la Série F. Vous pouvez être certains que nous allons poser la question la semaine prochaine lors de notre premier contact avec la nouvelle génération de produits Super Duty.
Une histoire à suivre.
