En matière de performance, Toyota rattrape le temps perdu depuis quelques années et la firme propose quelques modèles intéressants à travers la planète. Qu’on pense aux GR Supra et 86 chez nous, ou encore à la GR Yaris qui est commercialisée ailleurs.
Chez Lexus, on a droit à la RC F, une voiture que nous allons bientôt mettre à l’essai (détails à suivre). Cependant, on n’a pas au sein de la division une bête comme on peut en retrouver chez BMW avec la M8 Competition, par exemple, ou encore avec certaines créations AMG dans les hautes sphères de la gamme de Mercedes-Benz.
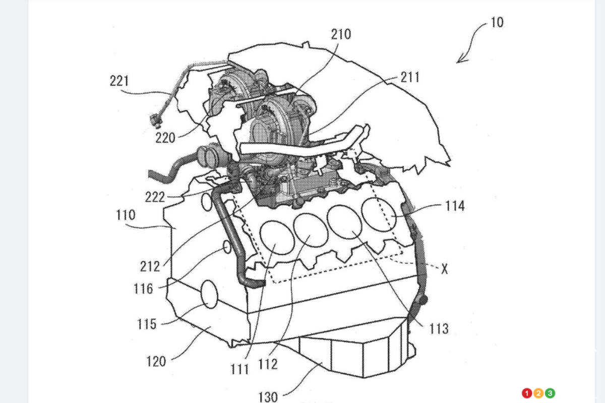
Ça pourrait bien changer bientôt, car un brevet de Toyota montrant un moteur V8 biturbo a été aperçu. Voilà qui relance les rumeurs concernant une version hyper performante de la superbe LC, soit une LC F.
Toutefois, le brevet a été déposé aux États-Unis, ce qui laisse un doute dans la tête de plusieurs experts. Généralement, lorsque l’objet du brevet est destiné à l’échelle mondiale, ledit brevet est déposé au Japon. Or, puisqu’il l’a été chez nos voisins du sud, il est fort possible que le moteur soit destiné à un véhicule produit aux États-Unis. Le seul modèle de la marque assemblé en sol américain et qui pourrait avoir besoin d’une telle mécanique, c’est la camionnette Tundra dont la refonte est imminente.
Shopicar.com, 100% en ligne, magasinez votre voiture, achetez en ligne et on vous livre au Québec!

De plus, un extrait du texte du brevet indique que la conception montrée pourrait concerner un V6 : « Incidemment, la réalisation précédente a été décrite en utilisant le moteur V8 comme exemple de moteur à combustion interne. Toutefois, le nombre de cylindres disposés dans le bloc-cylindres n’est pas limité en particulier. Par exemple, le moteur à combustion interne peut être, par exemple, un moteur V6. »
Il faudra donc patienter avant d’en savoir plus. La seule évidence, c’est qu’un nouveau moteur biturbo est en préparation chez Toyota. On verra en temps et lieu s’il est destiné à un modèle de la marque ou encore à une éventuelle LC F que certains amateurs réclament depuis l’arrivée de la version régulière sur le marché.
